涡轮流量计显示流量为零
2024-08-14 17:14:23
每一场竞技都是好运的开始
涡轮流量计显示流量为零
知识点
涡轮流量计简介:
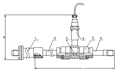
涡轮流量计一般由传感器和显示仪两部分组成,也可做成整体式。
涡轮流量计和容积式流量计、科里奥利质量流量计称为流量计中三类重复性、精度最佳的产品,作为十大类型流量计之一,其产品已发展为多品种、多系列批量生产的规模。

涡轮流量计优点:
1.高精度,在所有流量计中,属于最精确的流量计;
2.重复性好;
3.无零点漂移,抗干扰能力好;
4.范围度宽;
5.结构紧凑。
涡轮流量计作用原理:
涡轮流量计采用涡轮进行测量。它先将流速转换为涡轮的转速,再将转速转换成与流量成正比的电信号。这种流量计用于检测瞬时流量和总的积算流量,其输出信号为频率,易于数字化。感应线圈和永久磁铁一起固定在壳体上。当铁磁性涡轮叶片经过磁铁时,磁路的磁阻发生变化,从而产生感应信号。信号经放大器放大和整形,送到计数器或频率计,显示总的积算流量。同时将脉冲频率经过频率-电压转换以指示瞬时流量。叶轮的转速正比于流量,叶轮的转数正比于流过的总量。涡轮流量计的输出是频率调制式信号,不仅提高了检测电路的抗干扰性,而且简化了流量检测系统。它的量程比可达10:1,精度在±0.2%以内。惯性小而且尺寸小的涡轮流量计的时间常数可达0.01秒。
涡轮流量计广泛应用于石油、有机液体、无机液、液化气、天然气和低温流体等。
故障现象
有水流经过,涡轮流量计显示流量为零
检查处理经过
就地查看,流量计表头显示零

敲击表头,数据有显示,过后归零,怀疑齿轮卡

1.过滤器 2.前直管段 3.叶轮 4.前置放大器 5.壳体 6.后直管段

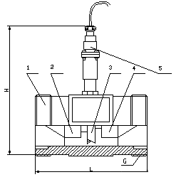
1.壳体 2.前导向件 3.叶轮 4.后导向件 5.前置放大器
厂家,建议拆下来清理涡轮
最终结果
清理涡轮数据显示正常
总结体会
设备需要维护的,定期对设备进行检查和清理,才能让设备更好的为我们服务。
TAG:
涡轮流量计